大学选院校时,多数考生及家长都认为报考经济发达地区的院校未来发展广阔,且院校社会认可度较高。但一般有众多优势的院校,报考的分数也比较高,今天来给大家推荐几所地理位置优越,且录取分相对较低的院校,适合多数考生报考。

沈阳理工大学
沈阳理工大学是新中国急需的兵工专门人才在东北地区创建的第一所本科军工高等学校,是共和国“兵工七子”之一,是国家国防科技工业局与辽宁省共建高校。
沈阳理工大学虽不是双一流院校,但是自身的实力还是很不错的,也极具国防特色,有博士人才培养项目1个,博士后科研流动站1个,博士后科研工作站1个,5个国家国防科技工业局国防特色学科,1个辽宁省一流学科,5个国家级一流本科专业建设点、2个特色专业建设点,其中军工制造及其自动化学科获批国家国防科技工业局国防特色学科。学校还建有东北地区唯一的兵器博物馆,这里藏着令人惊叹的国之重器,是国家和辽宁省科普教育基地、辽宁省国防教育基地及沈阳市爱国主义教育基地。
建国以来院校本科生质量不断提高,培养了一批批国防工业栋梁人才,近年毕业生就业率一直保持在92%以上,且东北地区是全国最重要甚至唯一的重工业基地,沈阳理工大学位于这样的重要地区,未来就业非常有优势,前景大好,所以这样一所为国防工业而生的特色院校且录取分数不太高的院校还是值得报考的。
2022年沈阳理工大学在辽宁录取分数线:



南通大学
南通大学于坐落于素有“江海明珠”、“中国近代第一城”美誉的沿海开放城市-南通市,是江苏省人民政府和交通运输部共建的综合性大学,江苏高水平大学建设高峰计划B类建设高校。
南通大学作为南通市实力最强的综合大学,拥有江苏高校优势学科2个、江苏省重点学科8个、江苏省临床医学重点专科30个,且临床医学、神经科学与行为学、工程学、药理学与毒理学、生物学与生物化学、化学、材料科学、分子生物与遗传学、计算机科学等9个学科进入ESI学科全球排名前1%,在ESI中国高校综合排名列第113位,通大的医学和工科的实力是特色学科,临床医学、电气工程及其自动化专业为国家特色专业建设点,这样的学科实力已跻身全国80强,在国内高校间也是极具领先优势。
南通大学地处中国华东地区,长江三角洲,气候适宜,毗邻上海,无论是省区内的资源还是地理方面都是非常有优势,学校在省内也有一定的知名度,就业认可度比较高,选择这样的院校就读绝对不亏。
2022年南通大学在江苏录取分数线:



广州大学
广州大学是以国家重要中心城市“广州”命名的综合性大学,是广东省高水平大学建设计划重点建设高校、广州市高水平大学建设高校。
广大现已涵盖10大学科门类的综合性院校,有国家级和省级一流本科专业建设点共计52个,14个省级重点学科、18个市级重点学科和重点扶持学科构成的重点建设学科体系。工程学、计算机科学、化学、材料科学、环境/生态学、社会科学总论、数学、植物学与动物学等8个学科进入ESI全球前1%,2022年泰晤士高等教育世界大学排名,中国大陆8所高校首次上榜,其中,广州大学表现最好,列全球高校第601-800位,中国大陆高校排名第35-49位,作为被誉为中国近年来进步速度最快的大学之一,广州大学综合水平已进入全国高校百强行列。
广州作为海上丝绸之路重要发祥地、唯一越千年而繁盛不衰的港口城市,广州大学地处这样的地理环境优势中,牢牢把握国家“双一流”和粤港澳大湾区建设战略机遇,对接广州和粤港澳大湾区发展,近年来毕业生就业率都在98%以上,且绝大数都流于本省地区,所以选这样的大学就读未来就业不愁。
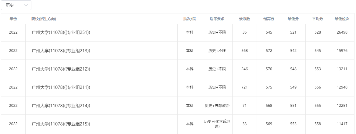
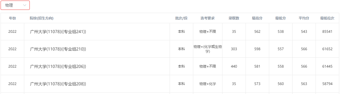
2022年广州大学在广东省录取分数线:

报考提示:发达地区的城市发展非常迅速,学生就业后如果想留在当地,那大学四年时光一定不能荒废,应积极地适应学校的生活,努力做更好的自己,这样才不易被社会淘汰。
特别声明:本文为优志愿原创作品。未经著作权人授权,禁止转载和使用,否则将承担法律责任。