东北林业大学是一所以林科为优势、林业工程为特色的多学科协调发展的高等学校,地处我国最大国有林区的中心——哈尔滨市。1985年8月更名为东北林业大学。2000年2月,由国家林业局划归教育部直属管理。2005年10月,经批准,成为国家“211工程”重点建设高校。2011年6月,成为国家“985工程”优势学科创新平台建设高校。2017年9月,经国务院批准列为“双一流”建设高校。2022年2月,入选国家第二轮“双一流”建设高校。
学校海拔141米,校园占地136公顷,并拥有帽儿山实验林场(帽儿山森林公园)和凉水实验林场(凉水国家级自然保护区)等教学、科研、实习基地,总面积达3.3万公顷。2020年,帽儿山实验林场、凉水实验林场和森林博物馆入选第五批全国林草科普基地,森林博物馆晋级“国家二级博物馆”。校园风光美丽如画,充满诗情画意,属于学校管理的帽儿山国家森林公园、凉水国家自然保护区更是风景秀丽,充满魅力。
学科建设
国家级特色专业:林学、森林保护、野生动物与自然保护区管理、木材科学与工程、林产化工、园林、森林工程、农林经济管理和生物技术
国家级一流本科专业建设点:生物科学、交通工程、木材科学与工程、林产化工、野生动物与自然保护区管理、林学、园林、森林保护、农林经济管理、应用化学、生物技术、机械设计制造及自动化、电气工程及自动化、自动化、计算机科学与技术、土木工程、森林工程、食品科学与工程、风景园林
世界一流学科建设学科:林业工程、林学
黑龙江省重点学科群:大小兴安岭生态功能区建设和林产品加工产业
国内一流建设学科(省级):生物学、生态学、风景园林、农林经济管理
学校现设有研究生院、19个学院和1个教学部,有68个本科专业、26个国家级一流本科专业建设点,10个一级学科博士点,19个一级学科硕士点,17个类别的专业学位硕士点,9个博士后科研流动站,1个博士后科研工作站。拥有林业工程、林学2个世界一流建设学科,生物学、生态学、风景园林学、农林经济管理4个国内一流建设学科,3个一级学科国家重点学科、11个二级学科国家重点学科、6个国家林草局重点学科、2个国家林草局重点(培育)学科、1个黑龙江省重点学科群、7个黑龙江省重点一级学科。学校现有植物学与动物学、农业科学、化学、材料科学、工程学、环境科学与生态学等6个学科进入ESI全球排名1%。
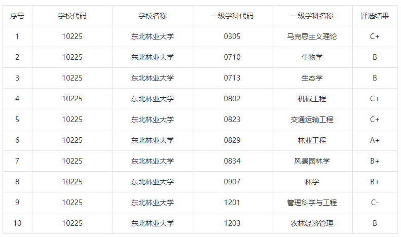
东北林业大学全国第四轮学科评估结果:

录取规则
学校在浙江省、山东省、河北省、辽宁省、重庆市调档比例为100%,投档考生必须符合学校专业选考科目要求,按照每一个专业作为一个投档单位进行专业录取。
学校在上海市、北京市、天津市、海南省、江苏省、福建省、湖北省、湖南省、广东省调档比例为105%以内,投档考生必须符合学校专业选考科目要求,学校对进档考生在其所填报。
学校艺术类专业在省级招办投放的考生电子档案范围内按照高考文化课成绩(含政策性加分)从高分到低分顺序录取专业,当考生高考文化课成绩(含政策性加分)相同时,参考省级专业课统考成绩择优录取专业,如若省级专业课统考成绩仍相同时,依次参照语文、数学、外语单科成绩择优录取专业。
对外交流
学校积极开展国际交流与合作,先后与近30个国家和地区的100余所高等院校和研究机构建立了校际合作关系。学校每年有近150位来自欧美和亚洲发达国家及港澳台地区的专家学者来校讲学、合作研究和访问考察;每年派出120余位教师赴国外攻读学位、进修访问和科研合作;与俄罗斯、新西兰、英国、法国、美国、加拿大、澳大利亚、韩国、日本等国家和港澳台地区的友好学校开展了形式多样的学生交流项目,并积极选派学生通过国家公派渠道赴国(境)外攻读学位。学校与新西兰奥克兰大学、英国阿斯顿大学联合举办了中外合作办学机构、办学项目。