安徽工业大学和合肥工业大学都不属于那种名气都非常大的211高校,在安徽之外诸多省份的考生和家长可能对这两所学校还较为陌生。这两所学校虽然都属于理工类高校,但是都他们都有属于自己的特色。

安徽工业大学
安徽工业大学坐落于长三角与南京毗邻的全国文明城市——安徽省马鞍山市,前身是创建于1958年的马鞍山钢铁工业学校,2000年经教育部和安徽省人民政府批准,华东冶金学院和安徽商业高等专科学校合并,组建安徽工业大学。
安徽省世界一流建设学科:材料科学与工程
安徽省重点学科:材料加工工程、钢铁冶金、化学工艺、会计学、电力电子与电力传动、数量经济学、机械设计及理论、材料学、热能工程、检测技术与自动化装置、应用化学、环境工程
国家级特色专业:冶金工程、材料成型及控制工程、化学工程与工艺、自动化、测控技术与仪器
学校设17个教学院部,65个本科招生专业,2个一级学科博士学位授权点,3个自主设置二级学科博士学位授权点,19个一级学科硕士学位授权点,11个自主设置二级学科硕士学位授权点,15个硕士专业学位授权点,2个博士后科研流动站。国家级一流本科课程6门,国家级、省级一流本科专业建设点54个,国家级特色专业、综合改革试点专业6个,省级特色(品牌)、综合改革试点、振兴计划专业47个。14个专业通过了教育部和住建部工程教育专业认证(评估),位居省属高校首位。
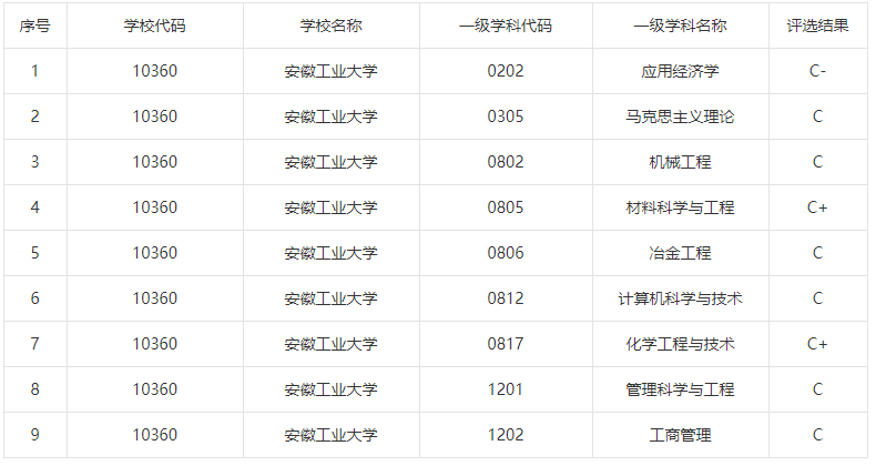
安徽工业大学全国第四轮学科评估结果:

材料科学、工程学、化学3个学科居全球ESI排名前1%,其中,材料科学、工程学进入全球前0.5%,材料科学与工程、冶金工程、化学入选安徽省高峰学科。“十三五”以来,主导制订国际标准6项,获批成立ISO-TC107/SC9PVD(物理气相沉积涂层)国际标准分委会,新增国家级科研项目333项,获省部级科技成果奖76项,授权发明专利1172项,转移转化专利成果279项

合肥工业大学
合肥工业大学是中华人民共和国教育部直属全国重点大学,教育部、工信部和安徽省政府共建高校,国防科工局与教育部共建高校。学校创建于1945年,学校2005年成为国家“211工程”重点建设高校,2009年成为国家“985工程”优势学科创新平台建设高校,2017年进入国家“双一流”建设高校行列。
学校现有4个国家级实验教学示范中心、1个国家级虚拟仿真实验教学中心、3个国家级工程实践教育中心。学校先后入选全国首批“深化创新创业教育改革示范高校”、“全国高校实践育人创新创业基地”、教育部“卓越工程师培养计划”首批试点高校、全国首批高校共青团“第二课堂成绩单”试点单位、“全国创新创业典型经验高校”、教育部首批大学生网络文化工作室等。
世界一流学科建设学科:管理科学与工程
国家重点学科:管理科学与工程、机械设计及理论、电力电子与电力传动、农产品加工及贮藏工程
国家级特色专业:信息管理与信息系统、车辆工程、资源勘查工程、电气工程及其自动化、测控技术与仪器、机械设计制造及其自动化、制药工程、食品科学与工程、新能源材料与器件(新材料)、物联网工程(新一代信息技术) 、材料成型及控制工程、建筑学、土木工程、电子商务
学校现有19个博士学位授权一级学科、3个博士专业学位授权点;39个硕士学位授权一级学科、21个硕士专业学位授予点;学校高质量完成了首轮“双一流”建设任务,顺利进入新一轮“双一流”建设。学校8个学科进入ESI全球排名前百分之一,其中工程科学学科进入ESI全球排名前千分之一。现有(联合)国家重点实验室(培育)和国家工程实验室各1个、教育部重点实验室2个、教育部工程研究中心5个、教育部哲学社会科学实验室(试点)1个、国家国际科技合作基地(示范型)2个,国家地方联合工程研究中心3个、国家地方联合工程实验室1个,安徽省实验室1个。
合肥工业大学全国第四轮学科评估结果:

总结:合肥工业大学排名120多位,安徽工业大学排名在300多位。合肥工业大学的特色专业主要有:信息管理与信息系统、车辆工程、资源勘查工程、电气化、机械制造、材料成型及控制工程、自动化等。安徽大学的特色专业主要有:材料科学与工程、会计学、电力电子与电力传动、材料学。