校名为“工商大学”的高校,共有4所:浙江工商大学、北京工商大学、重庆工商大学、湖南工商大学。这所整体实力都怎么样呢?这些高校中,哪一所更厉害?你更喜欢哪一所?

浙江工商大学
浙江工商大学坐落于风景秀丽的杭州,前身是创建于1911年的杭州中等商业学堂,创校之初即为我省商业教育之先驱,也是我国最早创办的商业专门学校之一。学校学科门类齐全,现有71个本科专业,涵盖经济学、管理学、法学、文学、理学、工学、历史学、哲学、艺术学等9大门类。拥有博士学位、硕士学位、学士学位授予权,硕士专业学位授予权,外国留学生、港澳台学生招生权。学校拥有7个一级学科博士点、16个一级学科硕士点、20个专业学位授权点,设有4个博士后流动站。
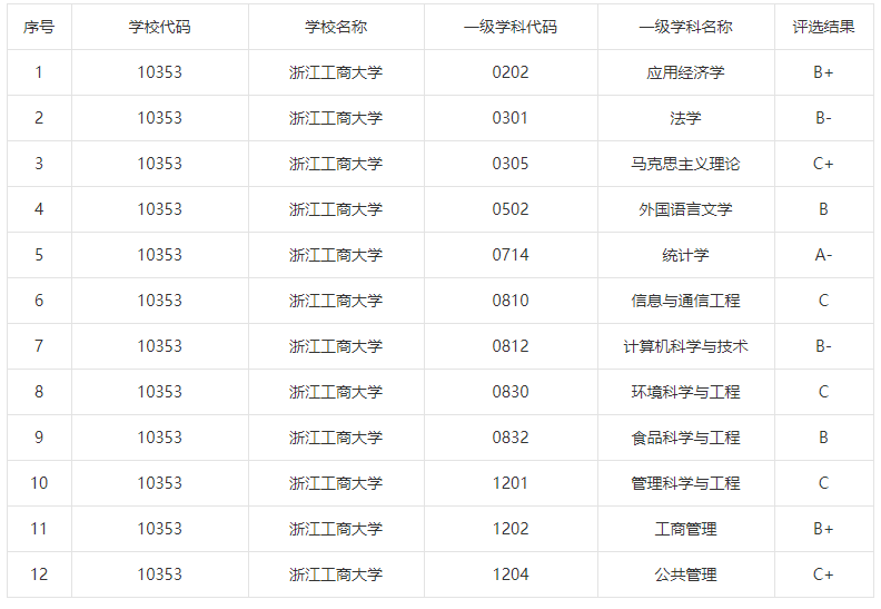
在教育部学位与研究生教育发展中心公布全国第四轮学科评估结果中,我校统计学进入A类学科,工商管理、应用经济学、外国语言文学、食品科学与工程、法学和计算机科学与技术6个学科进入B类,评估结果位列浙江省重点建设高校前列。农业科学、工程科学、计算机科学、环境/生态学、化学进入ESI全球排名前1%,其中农业科学居前4‰。
全国第四轮学科评估结果(2017年)


北京工商大学
北京工商大学是北京市重点建设的高水平研究型大学,1999年6月经教育部批准由北京轻工业学院与北京商学院合并,机械工业管理干部学院并入组建而成。合并组建后的北京工商大学步入了新的发展时期,综合实力显著增强,现已发展成为理、工、经、管、文、法、艺等学科相互支撑、协调发展的多科性大学,并将按照“特色、内涵、规范、质量”八字方针,努力实现特色鲜明的高水平研究型大学发展目标。
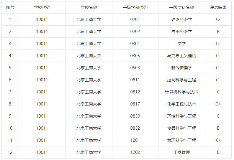
学校现设16个学院、1个教学部;拥有2个国家级检测中心、1个国家级实验教学示范中心、2个国家级虚拟仿真实验教学中心(项目)、1个国家工程实验室、1个科技部中国-加拿大联合实验室、1个北京市高精尖中心、4个北京市重点实验室、1个环保部重点实验室、1个北京市实验室、1个北京高等学校工程研究中心、1个北京市工程技术研究中心、3个省部级研究基地、1个北京市智库基地、2个省部级协同创新中心、4个北京市高校实验教学示范中心;学校现有一级学科博士学位授权点5个,联合培养博士学位授权点1个,一级学科硕士学位授权点18个、硕士专业学位授权点19个、本科专业63个。2002年—2012年,我校获批应用化学、产业经济学、食品科学和会计学4个北京市重点学科,应用经济学、民商法学、材料加工工程、计算机应用技术、环境工程和企业管理6个北京市重点建设学科。
全国第四轮学科评估结果(2017年)


重庆工商大学
重庆工商大学始创于1952年,2002年由原渝州大学和原重庆商学院合并组建而成,是一所具有经济学、管理学、文学、工学、法学、理学、艺术学等学科的高水平财经类应用研究型大学,是国家“中西部高校基础能力建设工程”重点支持高校、重庆市国际人文特色高校。
学校现有4个国家级特色专业、13个国家“一流专业”,28个重庆市“一流专业”,5个市级特色学科专业群、22个市级特色专业。有应用经济学、工商管理2个市级“一流学科”,统计学、管理科学与工程、环境科学与工程等14个市级重点学科;智能商务、智能金融2个重庆市“人工智能+”学科群;工程学、化学、材料科学进入ESI全球大学和科研机构排名前1%。获批1个服务国家特殊需求博士人才培养项目,1个应用经济学博士后科研流动站,2个博士后科研工作站,有14个一级学科硕士学位授权点,21个硕士专业学位授权点。在教育部第四轮的学科评估中,我校6个学科上榜,排名进入全国前70%,其中5个学科排名市属高校第一。
全国第四轮学科评估结果(2017年)


湖南工商大学
湖南工商大学坐落在历史文化名城长沙市,南朝岳麓,东顾湘江。她是一所经济学、管理学、工学、理学、法学、文学、艺术学、交叉学科等学科相互支撑、协调发展、特色鲜明的综合性大学。
学校始建于1949年,有4个立项建设博士学位授权点,11个一级学科硕士学位授权点、15个硕士专业学位授权点,有2个省级“双一流”学科;1个国家基础科学中心,1个国家重点实验室(培育),4个省级重点实验室,1个长沙重大科技创新平台长沙人工智能社会实验室。
学校现有67个本科专业,其中,10个国家级一流本科专业建设点,20个省级一流本科专业建设点,2个教育部高等学校“第一类特色专业建设点”,1个“第二类特色专业建设点”,1个国家级专业综合改革试点项目,5个省级专业综合改革试点项目,5个省级重点专业,2个省级资助建设专业,9个省级特色专业。
2021年湖南工商大学对本省部分招生计划
| 省份 | 年份 | 专业名称 | 计划科类 | 学费标准 | 学制 | 计划数 | 备注 |
| 湖南 | 2021 | 音乐表演 | 艺术(物理类) | 8000 | 本科四年 | 10 | 本科提前批,女生身高不低于160cm,男生身高不低于168cm,考生身高以高考体检信息为准。器乐方向古筝、二胡、大提琴、小提琴、中西吹管乐优先。 |
| 湖南 | 2021 | 音乐表演 | 艺术(历史类) | 8000 | 本科四年 | 34 | 本科提前批,女生身高不低于160cm,男生身高不低于168cm,考生身高以高考体检信息为准。器乐方向古筝、二胡、大提琴、小提琴、中西吹管乐优先。 |
| 湖南 | 2021 | 视觉传达设计 | 艺术(物理类) | 8000 | 本科四年 | 11 | 本科提前批 |
| 湖南 | 2021 | 服装与服饰设计 | 艺术(物理类) | 8000 | 本科四年 | 3 | 本科提前批 |
| 湖南 | 2021 | 环境设计 | 艺术(物理类) | 8000 | 本科四年 | 23 | 本科提前批 |
| 湖南 | 2021 | 环境设计 | 艺术(历史类) | 8000 | 本科四年 | 48 | 本科提前批 |
| 湖南 | 2021 | 视觉传达设计 | 艺术(历史类) | 8000 | 本科四年 | 48 | 本科提前批 |
| 湖南 | 2021 | 服装与服饰设计 | 艺术(历史类) | 8000 | 本科四年 | 6 | 本科提前批 |