惠州卫生职业技术学院
2021年高职扩招 招生简章
根据《高职扩招专项工作实施方案》(教职成〔2019〕12号)、根据《教育部办公厅等六部门关于做好2021年高职扩招专项工作的通知》(教职成厅函〔2021〕9号)、《广东省教育厅关于做好2021年高职扩招专项行动有关工作的通知》粤教考函〔2021〕22号、《广东省教育厅等八部门(单位)关于做好2021年高职扩招工作的通知》(粤教职函〔2021〕28号)等文件精神,结合我校实际,特制定本方案。
一、学校概况
院校名称:惠州卫生职业技术学院
院校国标代码:14408
学校本部地址:惠州市惠城区演达大道
邮政编码:516025
办学层次:专科(高职)
办学性质:公办普通高等学校
二、招生计划
(一)社会人员学历提升计划
(二)现代学徒制试点班
三、招生对象、报考条件及报名方法
(一)招生对象
1.符合《关于广东省2021年普通高校招生统一考试报名有关事项的通知》(粤招〔2020〕11号)等有关文件规定的高考报名条件的退役军人、下岗失业人员、农民工、高素质农民、企业在职员工、基层在岗人员、灵活就业人员等社会人员,以及符合条件的港澳台考生。
2.累计具有广东省1年(含)以上社保并与我省企业签订了有效劳动合同的外省户籍在职员工,社保统计截止时间为2021年8月31日。
(二)报考条件
1.社会人员学历提升计划及现代学徒制试点考生,报考护理专业,应取得省级卫生行政部门颁发的执业护士证书;报考医学门类其它专业,应是从事相应专业工作的在职专业技术人员。报考上述专业的考生,应为对口专业从业人员。
2.现代学徒制考生在办理录取手续前必须已和试点专业合作企业签订有效劳动合同。
3.高中阶段学校的在校生、具有普通高等学历教育资格的高校在校生,以及2021年在广东省或其他省(市、区)参加普通高校招生考试并被录取的考生(含录取后不报到考生)不得参加广东省2021年高职扩招专项行动。相关考生报考高职扩招专项行动,录取后无法注册学籍等后果由考生自行承担。
4.因未认真查阅专业报考条件而无法获得高职扩招专项行动报考资格的责任由考生自负。
(三)报名方法
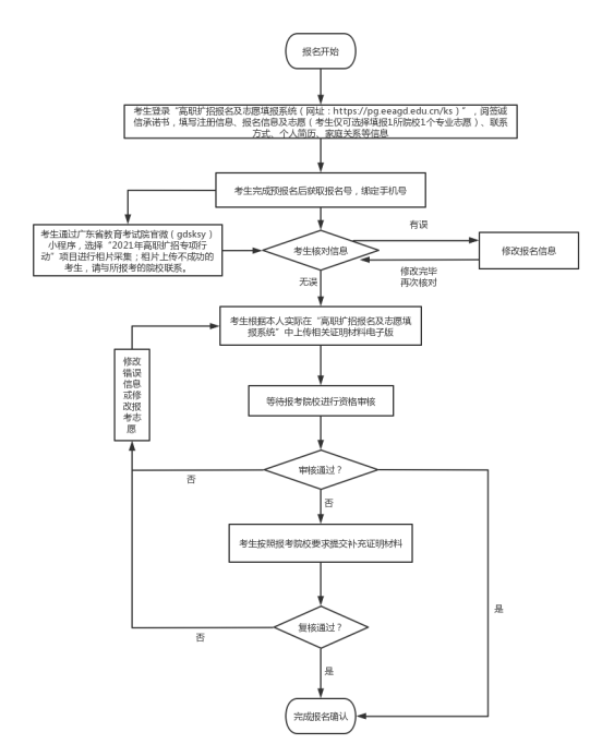
符合高职扩招专项行动报考条件和我校专业报考要求且拟报考2021年高职扩招专项行动的考生须进行广东省2021年高职扩招报名及院校专业志愿填报。已参加广东省2021年普通高校招生统一报名且获得高考报名号的考生可直接使用已获得高考报名号进行院校专业志愿填报,无需重新进行高考报名。高职扩招报名、院校专业志愿填报、考生报考资格审核及复核工作流程详见附件1。
1.高职扩招报名及志愿填报
考生需登录2021年高职扩招报名及志愿填报系统(网址:https://pg.eeagd.edu.cn/ks,下称“报名及志愿填报系统”)完成报名及院校专业志愿填报,并按附件1要求进行报名确认、志愿填报以及报考资格审核、复核。
考生仅可填报1所院校1个专业志愿,报名及志愿填报时间为2021年9月22日14:00至9月27日14:00,报考资格审核、复核及志愿确认时间为2021年9月22日14:00至9月30日10:00。
2.考生须上传证明材料
(1)广东省户籍考生。须上传本人身份证、户口簿、高中阶段(含普通高中、中职、中专、职中、技校,下同)学校毕业证书原件或同等学力证明电子版。
(2)符合条件的港澳台考生。符合条件的港澳考生上传本人香港或澳门居民身份证、《港澳居民来往内地通行证》或《港澳居民居住证》、高中阶段学校毕业证书原件或同等学力证明电子版;符合条件的台湾省籍考生上传本人在台湾居住的有效身份证明、《台湾居民来往内地通行证》或《台湾居民居住证》、高中阶段学校毕业证书原件或同等学力证明电子版。
(3)外省户籍在粤工作人员。须上传本人身份证、高中阶段学校毕业证书原件或同等学力证明、本人与企业签订的劳动合同,以及本人累计在粤满一年的参保证明电子版。参保证明时间计算截止日期为2021年8月31日,由考生携带身份证或社会保障卡前往属地社会保险基金管理局办事大厅打印或在广东政务服务网上打印。
外省户籍在粤工作人员参保情况将在考生报名结束后由省社保部门统一复核。对于复核情况不属实的考生,取消高职扩招专项行动报名资格,由此产生的一切后果由考生负责。
(4)现代学徒制考生。满足上述1、2、3条件之一的现代学徒制考生还须上传与试点专业合作企业的劳动合同原件电子版或在录取前向招生院校提供与试点专业合作企业的劳动合同复印件。
(5)退役军人考生。满足上述1、3条件之一的退役军人考生还须上传本人退役证(或复员证、退伍证)原件电子版。
(6)报考社会人员学历提升计划班考生还须提供工作单位出具的在职证明。
(7)符合免试条件考生上传免试相关材料。
(8)已参加2021年广东省普通高考报名并获得考生报名号的考生无需再提供户籍和高中阶段学历证明材料。
(9)由于考生未正确填报联系方式,招生院校无法联系考生提供必要的证明材料的,考生报考资格审核不通过的后果由考生自负。
3.2021年高职扩招各类型考生应提交报名材料
注:各种证明材料扫描件电子版均应上传至报名系统。
4.考生身份类型确认
退役军人指符合相关规定,退出现役的军官、士官和义务兵;下岗失业人员包括在人力资源社会保障部门公共就业服务机构登记失业的人员和因企业生产经营困难停工停产的下岗待岗职工;农民工指户籍仍在农村、在本地从事非农产业或外出从业的劳动者;高素质农民指长期稳定以农业及关联产业为主要职业,具有一定规模化水平,具备较高科学文化素质和生产经营能力,农业生产经营收入是主要劳动收入的现代农业从业者。以上四类人员的考生身份,由考生在报名系统中根据自身实际情况填报。
四、考核办法
鉴于近期我省出现的疫情态势,我校将通过分类、分点的形式,以最周密的部署确保考试安全。具体安排如下:
(一)考核时间:
2021年10月9-10日。
(二)考核地点:
具体考试地点详见准考证。
(三)考核范围
2021年高职扩招专项行动考核工作执行自主招生模式,采用“文化素质+职业技能”考核方式,主要侧重于“职业技能”考核,“文化素质和职业技能”考核的权重比例为4:6,测试满分值为200分,其中“文化素质”考核满分值100分,“职业技能”考核满分值100分。根据考生“文化素质”和“职业技能”成绩按4:6权重分别进行成绩折算,折算后总分满分值为100分,“文化素质”和“职业技能”考核内容合并同卷进行测试,由我校自主命题组织开展。
1.对于退役军人、下岗失业人员、农民工和高素质农民等,可免文化素质考核,只进行与报考专业相关的职业技能考核。免考科目按满分(40分)计算,职业技能考核按卷面成绩X0.6计入考生总分,满分值100分。
2.对于取得相关职业技能等级证书的考生,报考相关专业可免职业技能考核,进行与报考专业相关的文化素质考核。免考科目按满分(60分)计算,文化素质考核按卷面成绩X0.4计入考生总分,满分值100分。
3.其他类型考生按文化素质考核成绩X0.4+职业技能考核成绩X0.6计入考生总分,满分值100分。
4.同时符合第1、2条免考条件的考生只能在“文化素质”和“职业技能”考核中选择一项免考,免考科目以考生身份类型进行确定,具体顺序为退役军人、下岗失业人员、农民工和高素质农民、取得相关职业技能等级证书。
5.所有考生都须参加考试,缺考考生视为放弃报名考试,不计分。
(四)考点防疫要求
各考核地点要严格按照本地区疫情防控要求,做好考场布置等相关工作,采取强化个人防护、增大考场座位间距、加大考场通风消毒、加强考点医疗卫生保障、减少考场外人群聚集等措施。
五、录取办法
(一)录取时间及方式
高职扩招专项行动录取工作将于10月18日-25日进行,实行计算机远程网上录取,工作日程安排详见下文。
(二)录取原则
录取时根据考生专业志愿按照考生合成总分从高到低录取,考生合成总分相同时,优先录取职业技能考核成绩高的考生。拟录取考生的考核总成绩原则上不低于考核满分值的40%。
(三)拟录取名单确定
我校高职扩招专项行动招考工作在学校招生委员会的领导及学校纪检部门的监督下进行,考核、录取程序透明、公开。
测试结束后,我校招生网站上公示考生测试成绩。考生测试成绩公示3天无异议后,我校根据本招生简章中公布的录取规则制定拟录取方案,并将拟录取考生名单通过广东省普通高考录取系统相应功能模块上报省招生办公室审核备案。
拟录取公示期间,若有考生自愿放弃,不再顺延录取后续考生。
六、人才培养与学籍管理
(一)培养模式和毕业证书
采用在岗培养与学校培养相结合的人才培养模式,实行工学交替等学习形式,采取适合成人、方便就学、灵活多元的教学模式,探索线上与线下混合教学和网上教学,实施学分制管理改革。符合我校毕业条件和要求的,在规定年限内达到所在专业毕(结)业要求者,颁发惠州卫生职业技术学院普通高等学校毕(结)业证书。
1.现代学徒制学籍管理
学生不得转学,不得转专业,原则上不得转入同一专业普通班;因应征入伍、生病等特殊原因经学校同意休学、复学后,学校和试点企业没有继续开展试点的,经学校、试点企业和学生协商一致,可按学校有关规定,转入同一专业普通班学习。
2.社会人员学历提升计划学籍管理
学生入学后不得转学,不得转入试点专业或其他专业非试点班,非试点班学生不能转入试点班学习。原则上不得转专业、不得转教学地点,个别学生因工作地点变动等特殊情况申请转教学地点,理由充分、情况属实且符合相关要求的,可转教学地点;转入地专业选择受限制的,如符合国家和省相关要求,可转专业,但不得转入非2021年高职扩招专项行动招生专业。
七、收费和资助政策
(一)学校收费标准按《关于调整公办普通高校学费的通知》(粤发改价格〔2016〕367号)和《广东省发展改革委 广东省教育厅 广东省财政厅关于广东省普通高校学分制收费的管理办法》(粤发改价格〔2016〕366号)公布的标准执行,医药卫生类专业学费 6410元/生·学年。
(二)符合条件的学生,可按《财政部教育部人力资源社会保障部退役军人部中央军委国防动员部关于印发<学生资助资金管理办法>的通知》(财科教〔2019〕19号)等文件精神申请资助。
八、录取通知书的发放、新生注册和复查
1.录取通知书发放时间:2021年10月份,由我校统一发放。
2.高职扩招专项行动录取考生,于2021年10月底入学,具体时间见录取通知书。
3.经我校录取的考生,须在录取通知书规定时间内办理缴交学费注册,逾期未注册者,取消入学资格。新生入学后,将对学生进行资格复查。复查后发现在报名和考核过程中有弄虚作假或其他违纪违规行为者,将按规定取消其入学资格。
4.新生入学后,学校将对录取新生进行资格复查。复查后发现在报名和考核过程中有弄虚作假或其他违纪违规行为者,将按规定取消入学资格。
九、招生工作的咨询、监督与申诉
(一)招生工作的监督与申诉
监督部门:惠州卫生职业技术学院纪检监察办公室
联系人:王芳
监督电话:0752-2366007
(二)招生咨询及联系方式
咨询电话: 0752-2366800 2366788
传真:0752-2366800
电子邮箱:hzwzyxsc@163.com
学校网址:http://www.hzhsp.edu.cn/
十、工作安排
时间安排 | 工作内容 |
9月19日前 | 招生院校公布招生简章 |
9月22日14:00至 27日14:00 | 符合报名资格的考生办理报名手续及填报志愿,并按要求在系统中上传相关证明材料电子版 |
9月22日14:00至 30日10:00 | 招生院校根据考生在系统中填报的信息及上传的相关证明材料电子版完成报考考生资格审核及复核 |
9月30日 | 处理考生报名及填报志愿遗留问题 |
10月9日至10日 | 招生院校完成文化素质、职业技能考核 |
10月14日前 | 招生院校在本校招生网站公示考生考核成绩 |
10月18日前 | 招生院校在广东省普通高考录取系统提交拟录取考生信息 |
10月18-25日 | 省招生办公室通过录取系统审核各招生院校提交的拟录取方案,生成录取名册供招生院校下载 |
10月26日前 | 招生院校完成高职扩招录取工作,在本校招生网站上公示录取考生名单。招生院校根据本校招生工作安排确定录取通知书发放时间 |
惠州卫生职业技术学院
2021年9月18日
附件1
广东省2021年高职扩招考生报考流程图
高职扩招考生咨询QQ群
高招云直播