我国国土地域辽阔,国内院校种类极多,大大小小的院校有几千所之多。这些院校的名称都有一定的命名方式,有的以省为名,有的以学科特色为名,有的以属性命名,今天优志愿小编来给大家介绍几所特殊院校,它们以中国特色命名院校,虽然听起来怪怪的,但是都是国内非常有特色的大学,毕业生在找工作时非有优势。
长安大学
长安大学让人一听有种浓重的历史感,它坐落于中国四大古都之一西安市,是教育部直属高校,是国家首批“211工程”重点建设大学、国家“985优势学科创新平台”建设高校、国家“双一流”建设高校。

长安大学在2000年由二十世纪初的原西安公路交通大学、西安工程学院、西北建筑工程学院合并组建而成,有着深厚的历史底蕴。学校注重对理科类专业的科研和教学,稳居中国大学百强,被誉为公路交通人才培养的“黄埔军校”、科技创新的“金名片”。交通运输工程专业是该校的王牌专业,工程学、地球科学、材料科学、环境科学与生态学、社会科学总论、化学等6个学科进入ESI全球排名前1%。
长安大学最大的特色便是拥有国内高校唯一的汽车试验场,为学生搭建了理论与实践相结合的顶尖平台。院校高度重视毕业生的就业工作,与数十家世界500强企业建立了战略合作,培养的毕业生遍及五湖四海,毕业生的就业率和就业质量不断攀升,在国内外有一定影响力,因此长安大学被誉为我国交通运输专业的最强王者!这样一所以公路交通领域见长的院校,应是对交通专业感兴趣的学生首选院校!
2023年长安大学在陕西录取分数线


三峡大学
三峡大学位于“世界水电之都”、“中国动力心脏”的宜昌,因“三峡”而得名,是国家水利部和湖北省共建大学,入选教育部“卓越工程师教育培养计划”、湖北省“国内一流大学”建设高校,是一所是水利电力特色与优势比较明显的大学,有着“三峡明珠”的美誉。

学校具有博士学位授予权,推荐优秀本科生免试攻读硕士研究生的资格,办学实力较强,有11个省级重点一级学科、2个省级优势特色学科群、个省级优势特色学科群。水利工程、土木工程、电气工程等3个学科入选湖北省国内一流学科建设学科;水利工程、土木工程等2个学科入选“十二五”湖北省优势学科;电气工程、中国语言文学、基础医学、管理科学与工程、生态学等5个学科入选湖北省特色学科。
三峡大学近5年来本科毕业生考研录取率保持在28%以上,就业率保持在90%以上,居省属高校前列,被教育部评为“全国高校毕业生就业能力培训基地”。毕业生遍布水利电力企业和科研院所,得到社会广泛认同,是一所值得报考的特色高校。
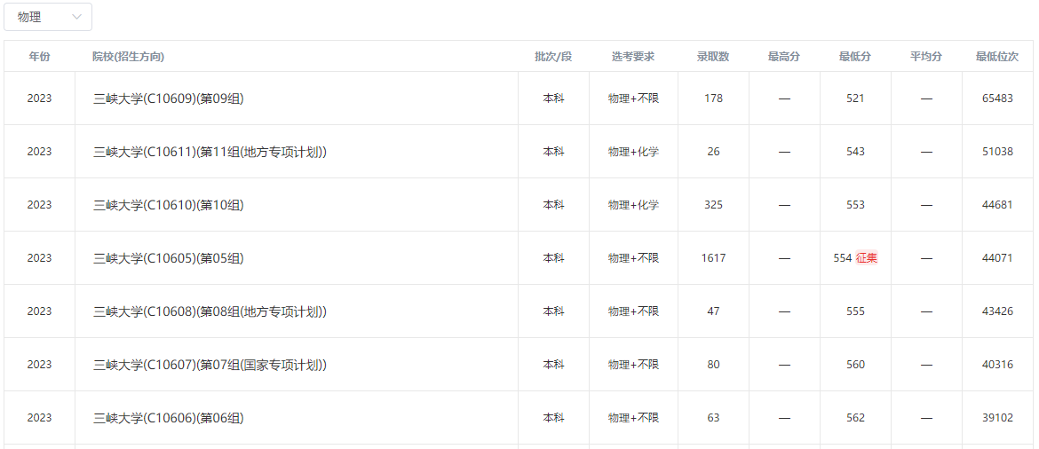
2023年三峡大学在湖北省录取分数线


景德镇陶瓷大学
景德镇陶瓷大学位于我国“千年瓷都”——景德镇,是全国唯一一所以陶瓷命名的多科性大学,是全国首批31所独立设置的本科艺术院校之一,94所具有资格招收中国政府奖学金来华留学生的高校之一。陶瓷是我国的一项特色“瑰宝”,所以这所大学也非常受重视。

学校突出“设计艺术和陶瓷工程”优势,艺术设计与陶瓷文化、陶瓷材料工程与智能制造、陶瓷经济与管理是这个学校的三大优势,现已拥有3个一级学科博士点、3个一级学科硕士点、9个专业学位硕士点,国家级一流本科专业建设点13个、省级一流本科专业建设点21个、国家级特色专业3个,其中陶瓷设计与美术为“十四五”高峰优势学科,材料科学与工程为“十四五”潜力发展学科。在全国第四轮学科评估结果中,学校的“设计学”“美术学”学科均为“B+”,位居前列。
在中国陶瓷界,学校被誉为“陶瓷黄埔”培养的艺术类毕业生人才辈出、成果显著,先后为社会培养了10万余名高级人才,陶大的就业率一直保持在90%左右,且学生自主创业率连续多年位居全省高校前列,是一所值得考虑的多科性大学。
2023年景德镇陶瓷大学在江西省录取分数线

特别声明:本文为优志愿原创作品。未经著作权人授权,禁止转载和使用,否则将承担法律责任。