我国的长江流域横跨中国东部、中部和西部三大经济区,占据丰富的自然资源,其流域内的名校也数不胜数,这些院校钟灵毓秀、人杰地灵。在高考志愿填报期,考生家长都会把意向院校的地理位置也纳入考虑因素,因此今天小编就来给大家介绍这几所占据地理优势的“牛校”!

重庆大学
重庆大学坐落于一座精致,生机勃勃的城市,该校创建于1929年,是中华人民共和国教育部直属,由教育部、重庆市、国家国防科技工业局共建的全国重点大学,位列国家“双一流”、“211工程”、“985工程”。
众所周知,重庆大学是著名的“建筑老八校”之一,加上重庆山城显著的地域特征,其山地建筑颇负盛名,建筑学无疑是该校的王牌之一!学校实施六类学科重点建设项目,持续推进一流学科,电气、建筑、土木、机械、仪器、材料、采矿、计算机、生物医学等相关学科也同样都是实力深厚的专业。工程学、材料科学先后进入ESI世界前1‰学科,12个学科进入ESI世界前1%;7个学科进入软科世界一流学科前50名。从官网数据显示重大学毕业去向落实率为95.91%,主要行业以制造业、建筑业、信息传输、软件和信息技术服务业为主。所以无论是综合院校位置、学科实力及就业方向等因素,选择该校都是不错的。
2022年重庆大学在本市录取分数线:



武汉大学
武汉大学创办于1893年,坐落在武昌东湖之滨,以其山水相映的自然环境和沧桑典雅的民国建筑闻名于世,被誉为“中国最美丽的大学”,现如今已成为人气最旺的旅游景点之一。
武大是中国著名的综合性研究型大学,也是近代中国建立最早的国立大学,位列国家“双一流”、“985工程”“211工程”。拥有59个硕士学位授权一级学科,49个博士学位授权一级学科,11个一流建设学科,5个一级学科、17个二级学科被认定为国家重点学科,在第四轮学科评估中武大19个学科排名A类。武大的王牌专业有法学、理论经济学、测绘科学与技术、化学、口腔医学、图书情报与档案管理等。
学校为国家培养了50多万名各类高级专门人才,取得了瞩目的成就。近年毕业生的就业一直保持较高水平,因武汉这座城市有着独特的地理优势,还是吸引了大部分的毕业生留在这座城市就业,其余部分学生去向北上广等一线城市。可见该校的毕业生质量很是可观。
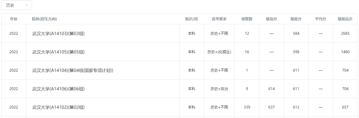
2022年武汉大学在本省录取分数线:



中南大学
中南大学跨湘江两岸,依巍巍岳麓,临滔滔湘水,坐落在中国历史文化名城——湖南省长沙市,是直属教育部的全国重点大学,由湖南医科大学、长沙铁道学院与中南工业大学于2000年合并组建而成。
中南大学有103个本科专业,其中72个国家级一流本科专业建设点, 5个学科入选国家“双一流”建设学科,19个学科进入基本科学指标全球前百分之一,材料科学、工程学、临床医学、计算机科学、化学、药理学与毒理学更是居全球前千分之一。学校努力完善人才培养新模式,率先创办创新型高级工程人才试验班,入选多项教育部首批试点高校,并成为我国百强企业最欢迎的10所大学之一。虽然中南大学建校晚,但综合实力仍不容小觑,发展潜力巨大,报考该校也是不错的。
2022年中南大学在本省录取分数线:



河海大学
河海大学位于长江中下游地区、中西部地区发展重要门户城市——江苏省南京市,其前身为华东水利学院,拥有百余年办学历史,以水利为主要特色,是教育部、水利部 、国家海洋局与江苏省人民政共建高校,是国家“双一流”建设高校 ,“211工程 ,被誉为“水利高层次创新创业人才培养的摇篮”。
河海大学拥有1个一级学科国家重点学科,7个二级学科国家重点学科,2个学科入围一流学科建设名单,9个学科进入ESI世界排名前1%,其中工程学进入世界排名前1‰。作为中国水利的最高学府,水利工程学科是学校的一张王牌,不仅入围一流学科建设名单,在第四轮学科评估中,以优异的成绩获批A+。多年来在国家多项重大水利工程的项目上,都有河海大学的身影,如三峡工程、南水北调、西南水电开发、引江济淮等。河海培养的研究人才量一直位居全国前列,在江苏省2019年度研究生教育工作综合评价中获评A等,毕业生就业率也始终保持在96%以上。能够报考这样一所优秀的高校,无疑是一件美事。
2022年河海大学在本省部分录取分数线:

特别声明:本文为优志愿原创作品。未经著作权人授权,禁止转载和使用,否则将承担法律责任。