广西科技大学坐落在广西壮族自治区柳州市,是国务院学位委员会批准的学士、硕士学位授权单位、“卓越医生教育培养计划”试点高校、“新工科研究与实践项目”入选高校,直属于广西壮族自治区人民政府管理,是一所以工为主,包含工、管、理、经、文、法、艺术、教育、医学等9大学科门类的多科性高等学校。
学校现有文昌(原东环)、柳石、柳东3个校区,2个临床医学院,占地面积近2800亩。该校虽然比较低调,但实力不俗,学科专业方面,该校现有博士学位授予权立项建设学科3个,广西高校重点学科9个,国家级一流本科专业建设点3个,12个专业列入广西本科第一批次招生。
广西一流学科:机械工程、化学工程与技术
广西高校重点学科:车辆工程、企业管理、生物化工、机械制造及其自动化、结构工程、控制理论与控制工程、应用数学、计算机应用技术、产业经济学
自治区优势特色重点学科:生物化工、机械制造及其自动化
国家级一流本科专业建设点:机械工程、车辆工程、土木工程
师资方面,广西科技大学专任教师中具有高级职称教师占比近50%,还有包括享受国务院政府特殊津贴专家在内的一批专家教授。
学校对于进档考生(艺术类专业除外),根据投档成绩从高分到低分,从高位次到低位次,依照其专业志愿顺序安排专业,不设置专业级差。按顺序志愿投档的专业,优先录取第一志愿填报我校的线上进档考生,在第一志愿生源不足的情况下,录取非第一志愿考生。按平行志愿投档的专业,在生源不足的情况下,原则上对该专业进行志愿征集,志愿征集办法按各省文件要求执行。实行“专业志愿清”录取规则的省份,按所在省份公布的规则执行。对进档考生,如果所填报的专业志愿均无法满足,对服从专业调剂者,按高分到低分调剂到尚有缺额的专业;对不服从专业调剂者,作退档处理。
学校医学院有部分专业,如:护理、 口腔医学、临床医学、药学、 医学影像技术 、预防医学、助产等几个专业,在自治区内有专科层次招生。那些高考成绩不是很好而又想要学医的广西考生来说,这是一个很好的选择。
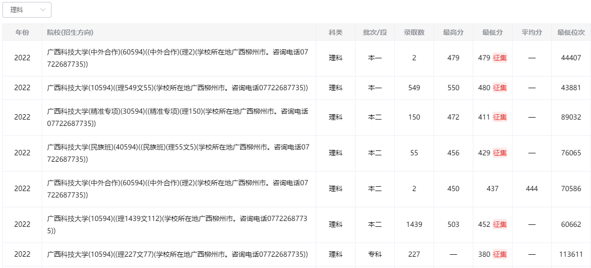
2022年广西科技大学在本省录取分数线:

