新疆大学位于新疆维吾尔自治区首府乌鲁木齐,是教育部与新疆维吾尔自治区人民政府“部区合建”的综合性全国重点大学、国家“双一流”建设高校 、国家“211工程”建设高校、国家西部大开发重点建设高校,入选国家“111计划”、中西部高校综合实力提升工程、国家建设高水平大学公派研究生项目、中国政府奖学金来华留学生接收院校、卓越工程师教育培养计划、卓越法律人才教育培养计划、全国深化创新创业教育改革示范高校、首批高等学校科技成果转化和技术转移基地,中西部“一省一校”国家重点建设大学(Z14)联盟成员,中国—中亚国家大学联盟发起高校。
历史沿革
1924年,新疆大学的前身——新疆俄文法政专门学校创立,拉开了新疆高等教育的序幕。
1935年,学校改建为新疆学院。抗日战争期间,共产党人俞秀松、林基路和爱国民主人士杜重远等先后到新疆学院主持工作,茅盾、张仲实、萨空了、赵丹等一批共产党人和进步人士来校任教或讲学,提出了“以民族为形式,以马列为内容”的教育思想,掀起了轰轰烈烈的抗日救国宣传活动,学校被誉为“抗大第二”。
1950年,新疆省人民政府将原省语文学院并入新疆学院,并将新疆学院更名为新疆民族学院。1954年,将新疆民族学院复名为新疆学院。
1955年,高等教育部部长杨秀峰到新疆学院视察工作时,指示以新疆学院为基础筹建新疆大学。1959年5月,高等教育部决定由北京大学、清华大学、西北大学等院校支援新疆大学的成立工作。1960年,新疆大学正式成立,学校跨入了新的发展时期。
1978年,学校被国务院确定为全国第一批88所重点高等院校之一,16所综合性重点大学之一。1997年,学校被列入国家首批“211工程”重点建设高校。
2000年,新疆大学与原新疆工学院合并组建新的新疆大学。原新疆工学院的前身是1953年中苏共同创办的中苏有色金属公司矿山技术学校,1954年,苏联将学校股份移交我国,学校改为自办,更名为乌鲁木齐矿业学校。1958年建成新疆矿冶学院,隶属冶金工业部,1966年更名为新疆工学院。
2004年,学校成为新疆维吾尔自治区人民政府、教育部“区部共建”高校。2012年,学校被列为国家“中西部高校综合实力提升工程”建设高校。2017年,进入全国首批42所一流大学建设高校行列。2018年,确定为教育部与新疆维吾尔自治区人民政府“部区合建”高校。
学科建设
学校现有经济学、法学、文学、历史学、理学、工学、管理学、艺术学、哲学九个学科门类,涵盖了高级专门人才培养和科学研究的主要领域。现有2个国家级重点学科(中国少数民族语言文学、应用数学),1个国家级重点培育学科(人口、资源与环境经济学),3个双一流重点建设学科(马克思主义理论、化学、计算机科学与技术);6个自治区级高峰学科, 7个自治区高原学科,4个学科(化学学科、工程学科、材料学学科、环境与生态学学科)进入ESI全球前1%;在全国第四轮学科评估中,有7个学科进入B类学科,9个学科进入C类学科。有14个博士学位授权一级学科、1个博士专业学位授权类别,36个硕士学位授权一级学科、18个硕士专业学位授权类别,12个博士后科研流动站,是新疆高校中学位授权最多、学位授权体系最完备的高校。学校现有95个本科专业,其中招生专业69个;38个国家级一流本科专业建设点,15个省级一流本科专业建设点,10个国家特色专业,18个自治区紧缺人才专业,12个自治区重点专业。
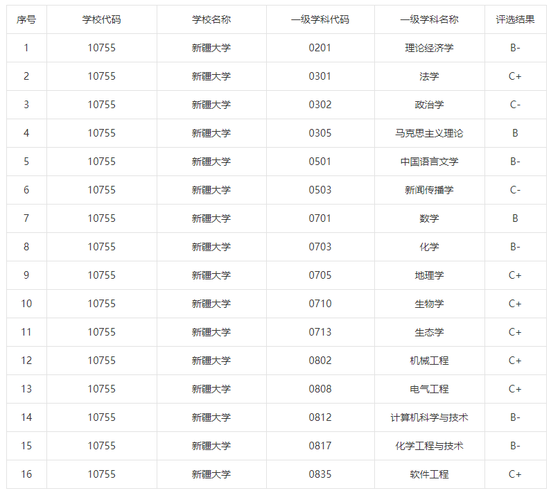
新疆大学全国第四轮学科评估结果

师资队伍
学校现有专任教师1979人,具有高级职称专任教师942人,具有博士学位教师914人。现有中国工程院院士1名,入选国家级人才项目20人,国家有突出贡献中青年专家5人,享受政府特殊津贴专家39人,“全国高校黄大年式教师团队”1个,教育部“新世纪优秀人才支持计划”8人,全国教书育人楷模1人,中宣部文化名家暨四个一批(宣传思想文化青年英才)1人。自治区突出贡献优秀专家17人,自治区文化名家暨“四个一批”人才和文化产业领军人才6人,自治区“国家高层次人才特殊支持计划”9人,自治区级教学名师26人、教学能手18人。
交流合作
学校是国家留学基金委公派出国留学项目受理单位,是上海合作组织大学、中国政府奖学金自主招生、孔子学院奖学金和新疆政府奖学金项目学校。学校先后与27个国家和地区的80多所高校和教育科研机构签署了教育交流与科研合作协议(备忘录)。建有新疆大学俄语中心和俄罗斯对外俄语等级考试考点,在俄罗斯、哈萨克斯坦、吉尔吉斯斯坦、塔吉克斯坦等国多所大学设有实习基地。在吉尔吉斯斯坦、俄罗斯设立3所孔子学院。